Emerging Trends in Instrumentation in Rocket Motor Testing

Authors

  • Arun Kumar Advanced Systems Laboratory, Hyderabad
  • L. Anjaneyulu National Institute of Technology, Warangal

DOI:

https://doi.org/10.14429/dsj.65.7949

Keywords:

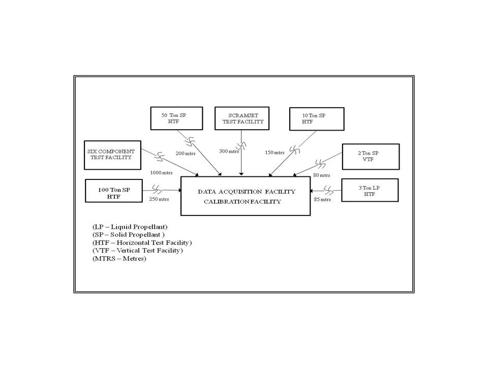
Test bed, static test, rocket motor, measurement chain, transducer, calibration, instrumentation amplifier, signal conditioners, performance indices, data acquisition system

Abstract

Rocket motors are designed, developed, and evaluated for performance, and after repeated tests, are qualified for use in a spacecraft or missile system. Comprehensive instrumentation measurement plan is made to record physical parameters during evaluation and testing. In the last thirty years, a revolution has happened in the field of electronics that has benefited instrumentation in terms of accuracy, bandwidth, capacity, reliability and analysis. This paper describes the improvements in instrumentation that have happened in the field of rocket motor testing over a period of last three decades.

Defence Science Journal, Vol. 65, No. 1, January 2015, pp.63-69, DOI:http://dx.doi.org/10.14429/dsj.65.7949

Author Biographies

Arun Kumar, Advanced Systems Laboratory, Hyderabad

Mr Arun Kumar is presently working as Technology Director in ASL, DRDO, Hyderabad. He graduated in Electronics & Telecommunication Engineering from BIT, Ranchi University.He completed his MTech in Electronics Instrumentation (by research) from NIT, Warangal and currently pursuing his PhD from NIT, Warangal in the field of Instrumentation. He is a Fellow Member of IETE, Life Member of Aeronautical Society of India and Society for Aerospace Quality and Reliability. His research interests encompass the areas of fibre-optic, data communication, data acquisition, underwater instrumentation, high speed visual imaging, design and development of test jigs for missile systems.

L. Anjaneyulu, National Institute of Technology, Warangal

Dr L. Anjaneyulu, Associate Professor, Dept. of Electronics & Communication Engineering, NIT, Warangal, did his BTech from Nagarjuna University, MTech in EI from NIT Warangal. He has published 15 papers in journals & 20 papers in international conferences. He evinces keen research interests in the area of antenna design, electromagnetic fields and waves, microwave and radar, computer networks, network programming, fuzzy logic, and neural networks.

Published

2015-02-26

How to Cite

Kumar, A., & Anjaneyulu, L. (2015). Emerging Trends in Instrumentation in Rocket Motor Testing. Defence Science Journal, 65(1), 63–69. https://doi.org/10.14429/dsj.65.7949

Issue

Section

Electronics & Communication Systems